高速內圓磨床磨削支撐機構
今天向大家介紹一種高速內圓磨床磨削支撐機構,他可以克服現有技術中存在的不足,提供一種高速內圓磨床的磨削裝置支撐機構,其結構設計巧妙合理,通過其支撐安裝的磨削裝置對工件內圓可加工角度范圍大,能夠大大提高加工精度和加工效率。
現在的一些企業上常用的內圓磨床的自動化程度不高,磨削尺寸通常是靠工人測量來加以控制的。僅適用于單件和小批生產中。為了滿足成批、大量生產的需要,也有自動化程度較高的半自動和全自動內圓磨床。但現有的磨床都存在工件內圓角度不可調節或調節范圍很小的缺點,對于工件內圓角度加工要求較大的場合就需要多次裝夾,而多次裝夾又會影響到磨削精度。而且現有的內圓磨床還存在加工速度不夠高的問題,這也對磨削效率和磨削精度有不利影響。這種高速內圓磨床的支撐機構完全可以解決以上難題。
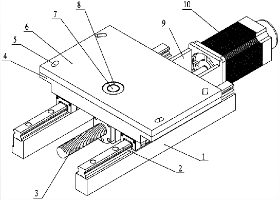
1:線軌座;2.線性滑軌;3.絲桿螺母副 4.滑臺板;5.安裝孔;6.電主軸角度板7.定位軸;8.軸承;9.電機座;10.進給電機;
高速內圓磨床的磨削裝置支撐機構主要由橫向線軌座1、橫向線性滑軌2、磨削裝置平面旋轉工作臺和橫向進給驅動機構組成,兩件橫向線軌座I橫向平行布置,兩件橫向線軌座I的頂部各安裝一件橫向線性滑軌2,所述磨削裝置平面旋轉工作臺放置在兩件橫向線性滑軌2上,磨削裝置平面旋轉工作臺與橫向線性滑軌2上的滑塊固定連接,磨削裝置平面旋轉工作臺通過橫向進給驅動機構帶動水平橫向移動。
